游客:
注册
|
登录
|
会员
|
统计
|
帮助
信天谨游
»
改善学生伙食
» 2013年六一猪宴淘宝收款统计——整猪卖第七期
‹‹ 上一主题
|
下一主题 ››
13
1/2
1
2
››
投票
交易
悬赏
活动
打印
|
推荐
|
订阅
|
收藏
标题: 2013年六一猪宴淘宝收款统计——整猪卖第七期
信天谨游
管理员
UID 5
精华 0
积分 0
帖子 29924
阅读权限 200
注册 2007-4-3
状态 离线
#1
发表于 2013-5-15 11:02
资料
文集
短消息
2013年六一猪宴淘宝收款统计——整猪卖第七期
一、本次收款用于2013年六一猪宴活动;
二、本次统计起止日期为:2013年1月17日下午14:35(上架时间)至2013年5月31日23:59分止,共五次统计。之后的计入下期元旦节日宴。
三、第七期整猪卖淘宝收款统计数据汇总明细:
(2013年1月17日至2013年5月31日成交共76单,收款共137600元.)
2013年1月份统计:本月共成交14单,交易金额32000元,成交时间:2013.01.17至2013.01.31
2013年2月份统计:本月成交16单,交易金额27200元,成交时间:2013.02.01至2013.02.28
2013年3月份统计:本月共成交6单,交易金额9600元,成交时间:2013.03.01至2013.03.31
2013年4月份统计:本月共成交13单,交易金额25600元,成交时间:2013.04.01至2013.04.30
2013年5月份统计:本月共成交27单,交易金额43200元,成交时间:2013.05.01至2013.05.31
以上合计:第七期整猪卖共成交76单,共交易金额为:137600元。(折合猪86头,按1600/头)
特别说明:
第七期整猪在2013年6月1日后还继续出售,一直到第八期整猪上架后,才下架。
故:2013年6月1日之后的第七期整猪,将用于2014年元旦节举办节日宴用。
具体统计如下:
2013年6月份统计共成交4单,交易金额6400元,成交时间:2013.06.01至2013.06.20(下架时间),此次收款即将转入下次猪宴活动。
总编号 月编号 订单编号 买家会员名 买家实际支付金额 订单状态 订单创建时间 订单付款时间
77 1 359075802928594 tb1092525_2011 1600 交易成功 2013-6-2 17:54 2013-6-2 17:56
78 2 227743505911152 df4ddf8b 1600 交易成功 2013-6-10 02:18 2013-6-10 02:19
79 3 228719859206238 阳阳花花 1600 交易成功 2013-6-13 21:34 2013-6-13 21:34
80 4 229162741684548 安安爱家小屋 1600 交易成功 2013-6-15 12:46 2013-6-16 11:50
合计 6400
本月交易金额为:6400元。
2013年6月20日更新
------------------------------------------分界线(以下是2013年6月23日更新)---------------------------------------------
2013年6月23日核查,第七期整猪统计时遗漏了2013年3月3日一单,信息如下:
订单编号 买家会员名 买家实际支付金额 订单状态 订单创建时间 订单付款时间 宝贝标题
198205498487195 重庆的大鱼 1600 交易成功 2013-3-3 18:03 2013-3-5 01:55 猪(完整一头猪,第七期)
故:
2013年6月24日修正统计:第七期完整一头猪,共计收到137600元+1600元(此1600元将转入下次猪宴活动)=139200元。
收款时间为:2013年1月17日下午14:35(上架时间)至2013年5月31日23:59分止。
由于我们的工作失误给捐助人带来疑问和麻烦,深表歉意,对不起。
为了避免统计出错,我们在文字数据公布的后面,再把截图的原始数据也公布一遍(图片版),这样与公布的文字版也能相互核对。
谢谢大家。
信天谨游
2013年6月23日更新
2013年6月24日更新
信天谨游
管理员
UID 5
精华 0
积分 0
帖子 29924
阅读权限 200
注册 2007-4-3
状态 离线
#2
发表于 2013-5-15 11:02
资料
文集
短消息
预留
信天谨游
管理员
UID 5
精华 0
积分 0
帖子 29924
阅读权限 200
注册 2007-4-3
状态 离线
#3
发表于 2013-5-15 11:06
资料
文集
短消息
2013淘宝整猪第七期数据统计:(第七期1月份统计)
2013年1月份统计共成交14单,交易金额32000元,成交时间:2013.01.17-14:35(上架日期)至2013.01.31
总编号 月编号 订单编号 买家会员名 买家实际支付金额 订单状态 订单创建时间 订单付款时间
1 1 285511840171394 jampolking 1600 交易成功 2013-1-17 15:23 2013-1-17 15:24
2 2 190077580914793 gooba 1600 交易成功 2013-1-18 16:15 2013-1-18 16:17
3 3 220629830702089 weiweiouyang 1600 交易成功 2013-1-20 00:14 2013-1-20 00:14
4 4 190442587847178 无忌票根 1600 交易成功 2013-1-20 08:14 2013-1-20 08:15
5 5 190627582011955 水煮活鱼1 1600 交易成功 2013-1-20 21:20 2013-1-20 21:21
6 6 190946817277393 qiuqiu_kittu 1600 交易成功 2013-1-22 11:09 2013-1-22 11:14
7 7 287977568897393 qiuqiu_kittu 1600 交易成功 2013-1-22 11:09 2013-1-22 11:13
8 8 287977409587393 qiuqiu_kittu 1600 交易成功 2013-1-22 11:09 2013-1-22 11:11
9 9 221414399384778 dainythboy 1600 交易成功 2013-1-22 12:35 2013-1-22 12:36
10 10 289257324168629 sz3769 3200 交易成功 2013-1-24 15:40 2013-1-24 15:42
11 11 290668484819188 yifuyinzi064 3200 交易成功 2013-1-27 14:34 2013-1-27 14:49
12 12 223160113936894 yell64 8000 交易成功 2013-1-27 16:25 2013-1-27 16:30
13 13 291316726954373 kokonithe9 1600 交易成功 2013-1-28 20:03 2013-1-28 20:12
14 14 224249710865061 蜜乌喵 1600 交易成功 2013-1-31 10:34 2013-1-31 10:38
合计 32000
本月交易金额为:32000元。
信天谨游
管理员
UID 5
精华 0
积分 0
帖子 29924
阅读权限 200
注册 2007-4-3
状态 离线
#4
发表于 2013-5-15 11:08
资料
文集
短消息
2013淘宝整猪第七期数据统计:((第七期2月份统计))
2013年2月份统计共成交16单,交易金额27200元,成交时间:2013.02.01至2013.02.28
总编号 月编号 订单编号 买家会员名 买家实际支付金额 订单状态 订单创建时间 订单付款时间
15 1 193618378565207 zqyuan1977 1600 交易成功 2013-2-3 15:31 2013-2-3 15:34
16 2 293717207475051 懒死的熊猫 1600 交易成功 2013-2-4 14:09 2013-2-4 14:11
17 3 293954360944747 追风传说1 1600 交易成功 2013-2-5 18:23 2013-2-5 18:25
18 4 193856456522591 len343_2001 3200 交易成功 2013-2-5 22:59 2013-2-5 23:01
19 5 225306117117057 蜜蜂熊0978 1600 交易成功 2013-2-6 11:11 2013-2-6 11:18
20 6 194094984135937 色而不淫的摄影器材店 1600 交易成功 2013-2-8 19:04 2013-2-8 19:04
21 7 194094984375937 色而不淫的摄影器材店 1600 交易成功 2013-2-8 19:04 2013-2-8 19:04
22 8 225543559853701 pinpy1982 1600 交易成功 2013-2-9 03:29 2013-2-9 03:29
23 9 225680395312652 lingflag 1600 交易成功 2013-2-10 20:32 2013-2-10 20:32
24 10 225938798825377 wufangaa 1600 交易成功 2013-2-13 23:35 2013-2-13 23:35
25 11 295012882545377 wufangaa 1600 交易成功 2013-2-13 23:37 2013-2-14 11:35
26 12 226132113571677 aya_929 1600 交易成功 2013-2-15 17:29 2013-2-15 17:35
27 13 194705731408142 广州银岸零件 1600 交易成功 2013-2-16 23:02 2013-2-16 23:05
28 14 296565246318485 scherz 1600 交易成功 2013-2-18 21:26 2013-2-18 21:26
29 15 227258476541756 q126772009 1600 交易成功 2013-2-19 21:56 2013-2-22 20:14
30 16 298416081581756 q126772009 1600 交易成功 2013-2-22 20:21 2013-2-23 22:17
合计 27200
本月交易金额为:27200元。
信天谨游
管理员
UID 5
精华 0
积分 0
帖子 29924
阅读权限 200
注册 2007-4-3
状态 离线
#5
发表于 2013-5-15 11:09
资料
文集
短消息
2013淘宝整猪第七期数据统计:(第七期3月份统计)
2013年3月份统计共成交6单,交易金额9600元,成交时间:2013.03.01至2013.03.31
总编号 月编号 订单编号 买家会员名 买家实际支付金额 订单状态 订单创建时间 订单付款时间
31 1 305445728894703 yxjoyce 1600 交易成功 2013-3-7 21:53 2013-3-7 21:55
32 2 308635282918796 patrickhuang 1600 交易成功 2013-3-13 13:10 2013-3-13 13:11
33 3 309110201694440 hedejie_2009 1600 交易成功 2013-3-14 10:19 2013-3-14 10:23
34 4 313762449996835 秋小蝴蝶 1600 交易成功 2013-3-22 11:10 2013-3-22 11:14
35 5 240195753434230 绿色玉米 1600 交易成功 2013-3-27 22:34 2013-3-27 22:34
36 6 205306389576433 ann_bupt 1600 交易成功 2013-3-28 18:32 2013-3-28 18:33
合计 9600
本月交易金额为:9600元。
信天谨游
管理员
UID 5
精华 0
积分 0
帖子 29924
阅读权限 200
注册 2007-4-3
状态 离线
#6
发表于 2013-5-15 11:10
资料
文集
短消息
2013淘宝整猪第七期数据统计:(第七期4月份统计)
2013年4月份统计共成交13单,交易金额25600元,成交时间:2013.04.01至2013.04.30
总编号 月编号 订单编号 买家会员名 买家实际支付金额 订单状态 订单创建时间 订单付款时间
37 1 207780456765652 jinyionline 1600 交易成功 2013-4-6 22:12 2013-4-6 22:13
38 2 323896126749188 yifuyinzi064 1600 交易成功 2013-4-8 22:14 2013-4-8 22:16
39 3 247476319277040 bv1818 1600 交易成功 2013-4-16 14:40 2013-4-16 14:42
40 4 247720351051152 df4ddf8b 1600 交易成功 2013-4-16 23:47 2013-4-16 23:48
41 5 211066216182001 弯中减档 1600 交易成功 2013-4-18 00:24 2013-4-18 00:27
42 6 330032766731896 88sunandmoon 1600 交易成功 2013-4-18 22:08 2013-4-19 10:08
43 7 249487117020358 wcn7088 1600 交易成功 2013-4-21 15:30 2013-4-21 15:34
44 8 332178923681403 zzwwtc 1600 交易成功 2013-4-22 16:09 2013-4-22 20:38
45 9 212975972539330 huaisu_1931 3200 交易成功 2013-4-24 14:36 2013-4-24 14:37
46 10 334190403296112 tb9215353_77 4800 交易成功 2013-4-25 18:22 2013-4-26 12:21
47 11 334899204426766 bbbxxxhhh 1600 交易成功 2013-4-26 20:51 2013-4-26 20:58
48 12 335007120249165 barathrum1984 1600 交易成功 2013-4-26 23:21 2013-4-26 23:23
49 13 213966626066880 junbo_hl 1600 交易成功 2013-4-27 19:57 2013-4-27 19:57
合计 25600
本月交易金额为:25600元。
信天谨游
管理员
UID 5
精华 0
积分 0
帖子 29924
阅读权限 200
注册 2007-4-3
状态 离线
#7
发表于 2013-6-2 19:00
资料
文集
短消息
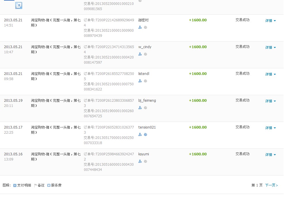
2013淘宝整猪第七期数据统计:(第七期5月份统计)
2013年5月份统计共成交27单,交易金额43200元,成交时间:2013.05.01至2013.05.31
总编号 月编号 订单编号 买家会员名 买家实际支付金额 订单状态 订单创建时间 订单付款时间
50 1 214842134512862 路边野草吹又生 1600 交易成功 2013-5-1 00:44 2013-5-1 00:45
51 2 214843299826328 housegh 1600 交易成功 2013-5-1 01:01 2013-5-1 01:02
52 3 215387575746795 jxh1 1600 交易成功 2013-5-2 19:23 2013-5-2 19:23
53 4 215451377006627 the4eye88 1600 交易成功 2013-5-2 22:08 2013-5-2 22:11
54 5 215500541173380 无贪 1600 交易成功 2013-5-3 00:18 2013-5-3 00:21
55 6 254745353201367 leon8888888 1600 交易成功 2013-5-4 17:32 2013-5-4 17:32
56 7 216059340191350 mikesive 1600 交易成功 2013-5-4 20:11 2013-5-4 20:12
57 8 340580160780483 yvannavy 1600 交易成功 2013-5-6 07:44 2013-5-6 07:44
58 9 217428699112777 pumc99 1600 交易成功 2013-5-9 07:04 2013-5-9 07:11
59 10 217743017665671 瞌睡与枕头1018 1600 交易成功 2013-5-10 02:06 2013-5-10 02:06
60 11 257324234711073 simonzenz 1600 交易成功 2013-5-10 17:06 2013-5-10 17:19
61 12 218954225201360 枫舞丽影 1600 交易成功 2013-5-13 20:50 2013-5-13 20:52
62 13 346292321110037 uniseraph 1600 交易成功 2013-5-14 16:19 2013-5-14 22:29
63 14 259846639242472 ksyumi 1600 交易成功 2013-5-16 13:09 2013-5-16 13:20
64 15 260528310263773 tension021 1600 交易成功 2013-5-17 22:25 2013-5-17 22:25
65 16 261238033068573 bj_feimeng 1600 交易成功 2013-5-19 20:11 2013-5-19 20:13
66 17 221347143135654 w_cindy 1600 交易成功 2013-5-21 10:47 2013-5-21 10:49
67 18 221426899296494 迦密村 1600 交易成功 2013-5-21 14:51 2013-5-21 14:52
68 19 261855277082505 listendl 1600 交易成功 2013-5-21 09:58 2013-5-21 20:08
69 20 222562707121083 chuzhe_wang 1600 交易成功 2013-5-24 20:27 2013-5-24 20:28
70 21 353212040771083 chuzhe_wang 1600 交易成功 2013-5-24 20:27 2013-5-24 20:29
71 22 264978436322094 jojook2011 1600 交易成功 2013-5-28 12:17 2013-5-28 12:19
72 23 265331036722636 b1ackf0x 1600 交易成功 2013-5-29 03:52 2013-5-29 03:56
73 24 224229496329612 suntowngm 1600 交易成功 2013-5-30 01:58 2013-5-30 02:00
74 25 356732400989612 suntowngm 1600 交易成功 2013-5-30 02:00 2013-5-30 13:38
75 26 224373300699612 suntowngm 1600 交易成功 2013-5-30 13:44 2013-5-30 13:45
76 27 357168960010352 stevenzhanli 1600 交易成功 2013-5-30 19:00 2013-5-30 19:02
合计 43200
本月交易金额为:43200元。
信天谨游
管理员
UID 5
精华 0
积分 0
帖子 29924
阅读权限 200
注册 2007-4-3
状态 离线
#8
发表于 2013-6-23 19:11
资料
文集
短消息
特别说明:
第七期整猪在2013年6月1日后还继续出售,一直到第八期整猪上架后,才下架。第七期整猪下架时间为:2013年6月20日 下午15:17分.
故:2013年6月1日之后的第七期整猪,将用于2014年元旦节举办节日宴用。
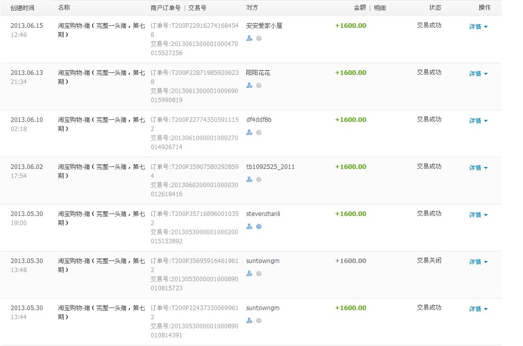
2013淘宝整猪第七期数据统计:(第七期6月份统计)
2013年6月份统计共成交4单,交易金额6400元,成交时间:2013.06.01至2013.06.20(下架时间),此次收款即将转入下次猪宴活动。
总编号 月编号 订单编号 买家会员名 买家实际支付金额 订单状态 订单创建时间 订单付款时间
77 1 359075802928594 tb1092525_2011 1600 交易成功 2013-6-2 17:54 2013-6-2 17:56
78 2 227743505911152 df4ddf8b 1600 交易成功 2013-6-10 02:18 2013-6-10 02:19
79 3 228719859206238 阳阳花花 1600 交易成功 2013-6-13 21:34 2013-6-13 21:34
80 4 229162741684548 安安爱家小屋 1600 交易成功 2013-6-15 12:46 2013-6-16 11:50
合计 6400
本月交易金额为:6400元。
信天谨游
管理员
UID 5
精华 0
积分 0
帖子 29924
阅读权限 200
注册 2007-4-3
状态 离线
#9
发表于 2013-6-23 19:27
资料
文集
短消息
预留
信天谨游
管理员
UID 5
精华 0
积分 0
帖子 29924
阅读权限 200
注册 2007-4-3
状态 离线
#10
发表于 2013-6-23 19:28
资料
文集
短消息
勘误说明:
由于我们的工作失误,在以上发布的明细中,漏统计了一单,此单成交日期是:2013年3月3日。
为了避免统计出错,我们决定再把截图的原始数据也公布一遍(图片版),这样与公布的文字版也能相互核对。
由于我们工作的失误给捐助人带来疑问和麻烦,深表歉意,对不起。
谢谢大家。
图片附件
:
111.jpg
(2013-6-23 19:58, 100.31 K)
图片附件
:
112.jpg
(2013-6-23 19:58, 98.36 K)
图片附件
:
113.jpg
(2013-6-23 19:58, 89.7 K)
图片附件
:
114.jpg
(2013-6-23 19:58, 98.48 K)
13
1/2
1
2
››
投票
交易
悬赏
活动
信天谨游
信天谨游助学
> 修建学校
> 一对一资助
> 勘误表
> 山村修路
> 改善学生伙食
> 助学交流
> 待修建学校
> 预算勘误表
> 其它助学活动
> 走访资料
> 助学之友
> 学生园地
> 版务
当前时区 GMT+8, 现在时间是 2026-2-15 22:27
京ICP备07004120号
Powered by
Discuz!
5.0.0
© 2001-2006
Comsenz Inc.
TOP
清除 Cookies
-
联系我们
-
信天谨游
-
Archiver
控制面板首页
编辑个人资料
积分交易
公众用户组
好友列表
基本概况
论坛排行
主题排行
发帖排行
积分排行
在线时间
管理团队